发布日期:2025-09-08 14:20 点击次数:198
截至9月3日收盘,北交所上市公司宏裕包材(837174)拿下连续第三个30cm涨停板。当天,亿纬锂能(300014)以12.08%的涨幅收于64.01元/股。再看国轩高科(002074),最近4个交易日累计涨幅达到了26.82%。记者梳理发现,固态电池或是这些公司的共同关键词。



9月3日,亿纬锂能官方公众号发文称,9月2日公司固态电池研究院成都量产基地正式揭牌,“龙泉二号”全固态电池成功下线。该基地总面积约11000平方米,全面投产后年产能近50万颗电芯,分两期建设:一期2025年12月建成,具备60Ah电池制造能力;二期2026年12月实现100MWh年产能交付。
此次下线的“龙泉二号”为10Ah全固态电池,能量密度达300Wh/kg、体积能量密度700Wh/L,主要面向人形机器人、低空飞行器及AI高端装备领域。亿纬锂能董事长刘金成表示,公司将以“龙泉”系列电池多路线开发,目标是2025年实现固态电池能量密度400Wh/kg、体积能量密度1000Wh/L,全力加速全固态电池产业化进程。
国轩高科也在近日发布上半年业绩时再度提到了固态电池研发进展。该公司全固态和准固态电池的研发进度领先业内。首条全固态实验线正式贯通,100%线体自主开发,设计产能达0.2GWh,良品率高达90%。目前公司已正式启动第一代全固态电池2GWh量产线的设计工作。

相比上述两家已明确在固态电池领域进行布局的电池头部企业,宏裕包材更像是固态电池“概念股”。宏裕包材股价连续大涨,一方面是市场对其半年报业绩明显向好的认可,另一方面可能是出于对其锂电池包装业务的预期。
公开信息显示,宏裕包材是一家以从事彩印复合包材产品、注塑包装和透气膜产品的研发、生产、销售为主的企业。2025年1月至6月,营业总收入为3.21亿元,同比增长5.54%;净利润为1221.03万元,同比增长147.37%。
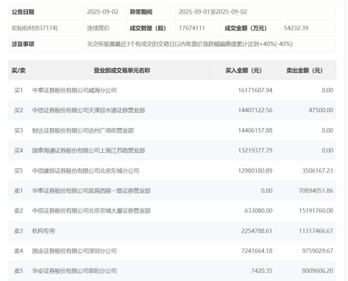
来自北交所官网的交易公开信息显示,推动宏裕包材近期股价异常的资金多来自游资。

有市场观点猜测,固态电池需要铝塑膜进行封装,该公司业务或与此相关。宏裕包材在2025年半年报的商业模式板块新材料产品中提到,公司采用流延成型与镀氧化铝加工工艺生产特殊功能膜材料,主要用于高阻隔食品及医药包装材料、动力电池铝塑包装材料。
据公开信息,2023年7月,宏裕包材在北交所上市网上路演时,公司高管明确提及随着锂电池产业的快速发展,锂电池软包装成为塑料薄膜包装需求的主要领域之一。公司与华中科技大学签署了合作开发协议,双方将在“锂离子电池聚烯烃基高性能隔膜设计及优化研究”领域进行共同开发。
公司半年报进一步显示,上半年新材料业务营业收入为1184.7万元,营业成本为1356.2万元,毛利率为-14.48%。新材料收入较上年同期增加66.60%,新材料成本较上年同期增加55.61%,主要系新材料产品销量增加所致。
在固定资产减值风险重大事项风险描述部分,该公司提到了综合考虑年产2.3万吨功能性包装新材料生产线产能利用率情况及新材料产品经营情况,2024年度,公司已对新材料生产线资产组计提减值准备。目前,公司新材料产品毛利率已回升7.3个百分点,但仍为负值。